
70Г12-26АМ. Насос пластинчатый 70Г12 26АМ
от 100 ₴
Показать оптовые ценыМинимальная сумма заказа на сайте — 300 ₴
- В наличии
- Оптом и в розницу
- Код: г12
- +380 (93) 845-70-32Отдел продаж
Пластинчатые насосы 70Г12-26АМ
|
|
Насосы 70Г12 26АМ УХЛ4 габарита 3+2, пластинчатые двухпоточные нерегулируемые с постоянным направлением потока масла предназначены для подачи под давлением чистого минерального масла в гидросистемы станков и других машин. Двухпоточные насосы 50Г12-25, 50Г12-26, 70Г12-25, 70Г12-26, 100Г12-25, 100Г12-26 предназначены для подачи под давлением минерального масла двумя независимыми потоками. Насосы 50(70,100)Г12-25М(26АМ) работают на чистых минеральных маслах вязкостью от 17 до 400 сСт при температуре масла от +10 до +50 °С при температуре окружающей среды от 0 до +40 °С. Масло, поступающее в насос, должно быть отфильтровано от частиц размерами более 0,025 мм. Направление вращения вала насоса правое. По особому заказу насосы могут изготавливаться с левым направлением вращения вала. В заказе следует указать типоразмер насоса и направление вращения вала. Например, для насоса правого вращения — 100Г12-26АМ, для насоса левого вращения — 100Г12-26АМ Л. |
Характеристики насосов Г12-2 (габ. 3+2)
|
Наименование насоса |
Литраж, л/мин |
Габарит насоса |
Вес, кг |
|
Насос 50Г12 - 25М |
142,8/53,8 |
3+2 |
68 |
|
Насос 70Г12 - 25М |
142,8/70 |
3+2 |
68 |
|
Насос 100Г12 - 25М |
142,8/110,4 |
3+2 |
68 |
|
Насос 50Г12 - 26АМ |
204,2/53,8 |
3+2 |
68 |
|
Насос 70Г12 - 26АМ |
204,2/70 |
3+2 |
68 |
|
Насос 100Г12 - 26АМ |
204,2/110,4 |
3+2 |
68 |
Устройство и принцип действия насосов Г12

В корпусе 1 и крышке 2 установлен рабочий комплект, состоящий из статора 3, ротора 4, пластины 5, диска с шейкой 6, диска плоского 7. Вал 8 свободно вращается в подшипнике качения. В крышке расположено всасывающее отверстие Б, в корпусе - нагнетательное В. Двухпоточный насос объединяет два однопоточных насоса. В корпусных деталях установлены рабочие комплекты двух однопоточных насосов. Двухпоточный насос имеет общее всасывающее отверстие. Нагнетание происходит двумя независимыми потоками. Принцип действия однопоточных и двухпоточных насосов одинаков. При вращении вала пластины перемещаются в пазах ротора в соответствии с профилем внутренней поверхности статора. Камера Г (между пластинами, статором и ротором) во время . соединения с каналами всасывания увеличивает свой объем и заполняется рабочей жидкостью, поступающей из магистрали всасывания, а во время соединения с каналами нагнетания уменьшает свой объем, вытесняя рабочую жидкость в магистраль нагнетания. Насос устанавливается в любом положении.
Соединение вала насоса с приводным валом выполнять при помощи упругой (эластичной) муфты. Допуск соосности осей валов 0,1 мм в диаметральном выражении. Направление вращения вала должно соответствовать стрелке, расположенной на табличке. Передача на вал радиальных и осевых нагрузок со стороны привода не допускается. Для защиты насоса и гидросистемы от перегрузок необходимо установить предохранительный клапан, настройка которого не должна превышать номинального давления на выходе, а расход клапана должен быть не менее подачи насоса. Бак должен отвечать требованиям ГОСТ 16770-86. Объем бака должен быть не менее двухминутной подачи насоса. Всасывающий и сливной трубопроводы должны быть погружены в бак на глубину около двух диаметров трубы от дна. Трубопроводы должны быть с плавными изгибами, тщательно очищены, иметь надежное уплотнение в месте присоединения к насосу исключающее возможность подсоса воздуха.
Всасывающий трубопровод должен быть по возможности коротким с минимальным количеством изгибов. Диаметр отверстия всасывающего трубопровода, его длина и дополнительные соединения должны выбираться из условий, что скорость рабочей жидкости не должна превышать 1,5 м/с и абсолютное давление на входе в насос должно быть-0,08...0,12 МПа (0,8... 1,2 кгс/см2). На всасывающем трубопроводе допускается устанавливать фильтр с индикатором загрязненности при условии, что абсолютное давление на входе в насос не менее 0,08 МПа.
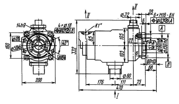
Размеры насосов Г12-2 (габарит 3+2)

Структура условного обозначения насосов Г12
|
||||||||||||||||||||||||||||||||||||||||||||||||||||||||||||||||||||
Насос пластинчатый 50Г12-25М
|
|
Основные параметры насоса 50Г12-25, 50 Г12-25 М УХЛ4: |
Насос пластинчатый 50Г12-26АМ
|
|
Основные параметры насоса 50Г12-26, 50 Г12-26 АМ УХЛ4: |
Насос пластинчатый 70Г12-25М
|
|
Основные параметры насоса 70Г12-25, 70 Г12-25 М УХЛ4: |
Насос пластинчатый 70Г12-26АМ
|
|
Основные параметры насоса 70Г12-26, 70 Г12-26 АМ УХЛ4: |
Насос пластинчатый 100Г12-25М
|
|
Основные параметры насоса 100Г12-25, 100 Г12-25 М УХЛ4: |
Насос пластинчатый 100Г12-26АМ
|
|
Основные параметры насоса 100Г12-26, 100 Г12-26 АМ УХЛ4: |
Пример условного обозначения при заказе насоса пластинчатого двухпоточного нерегулируемого с номинальной подачей 53 и 204 л/мин:
Насос 50Г12-26АМ УХЛ4.
| Основные | |
|---|---|
| Направление вращения | Левое |
| Производитель | Ама |
- Цена: от 100 ₴










.jpg)
.jpg)
