Пневмораспределитель У71-26А

Назначение У7126А, применяемость и условия работыПневмораспределители У71-26А (40 ОСТ2 КП92-4-83, 24В, 110В) УХЛ4 трехлинейные сдвоенные (другое название: клапан сдвоенный трёхходовой У71) с условным проходом 16; 25 и 40 мм с пневматической блокировкой, односторонним электропневматическим управлением, пневматическим возвратом и ручным дублированием управления, предназначены для управления кузнечно-прессовыми и другими машинами. Кузнечно прессовые машины оснащенные пневмораспределителями У71 имеют двуручную или педальную систему управления. Пневмораспределители У71-2 рассчитаны для работы на сжатом воздухе при давлении от 0,25 МПа до 1,0 МПа, очищенном не грубее 10 класса загрязненности по ГОСТ 17433-80, содержащем распыленное масло вязкостью от 10 до 35 мм°/с (сСт) при температуре 50°С, концентрацией из расчета 2…4 капли на 1 м³ воздуха, приведенного к условиям по ГОСТ 12449. У нашей компании вы можете купить пневмораспределители У71-24А, У71-22А, У71-26А по выгодной цене, и почти всегда из наличия. Кроме самих клапанов в сборе так же можно купить запчасти к пневмораспределителям У7124А, У7122А и У7126А (см. ниже). |
Характеристики пневмораспределителей У71-2
| Параметры | Типоразмеры | ||
| Клапан У71-22А (16 ОСТ2 КП92-4-83) |
Клапан У71-24А (25 ОСТ2 КП92-4-83) |
Клапан У71-26А (40 ОСТ2 КП92-4-83) |
|
| Условный проход, мм | 16 | 25 | 40 |
| Номинальное давление, МПа | 1,0 | ||
| Минимальное рабочее давление, МПа, не более | 0.25 | ||
| Остаточное давление воздуха на выходе при опоражнивании пневмомагистрали через одну секцию пневмораспределителя при давлении 0.63 МПа, МПа, не более | 0,02 | ||
| Пропускная способность пневматической линии "вход" ("1") -"выход" ("2"), Kv*, м3/час, не менее | 8 | 12 | 22 |
| Пропускная способность пневматической линии "выход" ("2") -"атмосфера" ("3"), Kv*, м3/час, не менее | 10,5 | 18,5 | 27,0 |
| Время включения при давлении 0.63 МПа, с, не более | 0,06 | ||
| Время выключения при давлении 0.63 МПа, с, не более | 0,08 | ||
| Максимальное число срабатываний, мин-1 | 100 | 90 | 70 |
| Род тока | постоянный | ||
| Напряжение, В | 24, 110 | ||
| Масса пневмораспределителя, кг, не более | 8,5 | 8,5 | 14,5 |
Структура условного обозначения
| У71-22А | УХЛ | 4 | |||
|
Категория размещения пневмораспределителя по ГОСТ 15150 (4)
|
|||||
|
Климатическое исполнение по ГОСТ 15150 (УХЛ, О)
|
|||||
|
Условный проход: 2А - 16 мм (У71-22А); 4А - 25 мм (У71-24А); 6А - 40 мм (У71-26А)
|
|||||
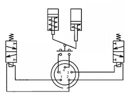
Размеры и схема подключения У71-22, У71-24, У71-26
|
|
Электрическая схема соединения
|
Примечание: подключение пневмораспределителя к электрической сети производится с помощью соединителя электрического ШР20П5НШ10, входящего в комплект поставки всех моделей У71.
Устройство пневмораспределителей
Конструктивно пневмораспределители У71-22, У71-24А и У71-26А состоят из 2-х клапанных секций соединенных между собой. Управление работой каждой секции осуществляется трехлинейным распределителем с электромагнитным управлением (24 В или 110 В, ток постоянный). Для контроля неисправности каждой из трехлинейных секций к их полостям пневмоусилителей подключен сигнализатор - датчик давления. Электрическое управление каждой секцией осуществляется по самостоятельной цепи посредством разъема. Подключение распределителей У71-2… к пневматической сети осуществляться пневматическими трубками или жесткими трубопроводами с сечением согласно условного прохода пневмораспределителя (16 мм, 25 мм или 40 мм).
Описание работы пневмораспределителя У71-22А (У71-24А, У71-26А)
При подаче электрического сигнала на электромагниты пилотных распределителей сжатый воздух поступает в полости пневмоусилителей обеих секций, клапанные блоки перемещаются к нижним седлам и перекрывают их, воздух поступает на выход распределителя. Если одна из секций не включилась (не выключилась), то на выходе распределителя давление не будет превышать 0,02 МПа, т.к. сжатый воздух будет стравливаться другой секцией в атмосферу, при этом электрическая цепь сигнализатора разомкнется.
Для исключения возможности рассогласования управляющих сигналов, приводящей к несинхронности срабатывания секций пневмораспределителя У71-22А, У71-24, У71-26А, в конструкции распределителя предусмотрен электронный блок управления.
Запчасти к пневмораспределителям У7124А, У7122А и У7126А для самостоятельного ремонта
Примечания по эксплуатации
- Пневмораспределители У71-22, У71-24, У71-26 работают от сети постоянного тока напряжением 24 В или 110 В;
- Пневмораспределители работоспособны в любом пространственном положении;
- Время рассогласования электрических сигналов управления секциями пневмораспределителя не должно быть более 0,05 с;
- Пневмораспределитель исключает возможность повторного включения при одной невыключенной секции;
- При подключении контактов микровыключателя последовательно в электрическую цепь "ОБЩИЙ СТОП" машины, распределитель У71- обеспечивает размыкание этой цепи при несрабатывании одной из секций;
- Виброустойчивость и вибропрочность соответствуют III степени жесткости по ГОСТ 28988;
- Степень защиты от воздействия окружающей среды и степень защиты персонала от соприкосновения к токоведущим частям IP20 по ГОСТ 14254-96;
- Пневмораспределители У7122, У7124, У7126 могут работать при любых режимах и продолжительности включений по ГОСТ 19264-82;
- Колебания напряжения питания от номинального в пределах 10%;
- Требования безопасности при эксплуатации должны соответствовать ГОСТ 12.3.001-85;
- При рабочих давлениях 5 кгс/см² рекомендуется пневмораспределители У71 закрывать специальными звукопоглощающими кожухами и устанавливать их вне зоны нахождения обслуживающего персонала;
- Средняя суммарная оперативная трудоёмкость текущих ремонтов - не более 7 чел./ч.
Трёхходовой сдвоенный сблокированный клапан, применявшийся на гильотине НД3312Г
|
|
|
Воздухопровод гильотины состоит из пневматического блока, ресивера, маслораспылителя и трехходового сдвоенного сблокированного клапана (аналог У71-22А), соединенных линиями связи с муфтой-тормозом. При запросе в поисковой системе для поиска пневмораспределителей У71 пользователи часто набирают: У71-24А, пневмораспределитель У71-24, У7124, У7124А и e71-24f). Производитель У71-24А, У71-22А, У71-26А завод ООО "Пневмоаппарат" город Москва. |
Пневмораспределитель У71-26А
|
|
Основные параметры распределителя (клапана) У7126А (40 ОСТ2 КП92-4-76, 3МП40М-11П) УХЛ4: |
Пневмораспределитель У71-24А
|
|
Основные параметры распределителя (клапана) У7124А (25 ОСТ2 КП92-4-83, 3МП25М-11П) УХЛ4: |
Пневмораспределитель У71-22А
|
|
Основные параметры распределителя (клапана) У7122А (16 ОСТ2 КП92-4-76, 3МП16М-11П) УХЛ4: |
Пневмораспределитель 3МП25М-11П (У7124А)
|
|
Основные параметры распределителя (клапана) У7124А (25 ОСТ2 КП92-4-83, 3МП25М-11П) УХЛ4: |
Пневмораспределитель 3МП16М-11П (У7122А)
|
|
Пневмораспределители 3МП-16М 11П являются наименьшими, если судить по величине условного прохода (Ду=16мм) и расходу воздуха (Q=8 м³/час) из всей линейки распределителей типа 3МП-...М 11П. Используется преимущественно в кузнечно-прессовом (обычно - это кривошипные пресса) оборудовании. Данные пневмораспределители - украинского производства (аналог сдвоенный клапанан У71-22А) Технические данные ЗМП16М 11П УХЛ4: |
Примеры условного обозначения:
пневмораспределитель У71-24А (24В, постоянный ток) УХЛ4 - пневмораспределитель сдвоенный, с пневматической блокировкой, условный проход 25 мм, напряжение 24 Вольта, ток постоянный, климатическое исполнение УХЛ4.
- Цена: от 10 000 ₴













.jpg)







