
Клапан 211-40. Пневмоклапан редукційний П КРМ 211 40
від 100 ₴
Показати оптові ціниМінімальна сума замовлення на сайті — 300 ₴
- В наявності
- Оптом і в роздріб
- Код: п-крм
- +380 (93) 845-70-32Відділ продажів
Пневмоклапани редукційні П-КРМ 211-40
|
|
Клапан редукційний ПКМ 211 40 УХЛ4 з пневматичним або ручним настроюванням тиску (застаріла назва клапани В57-13, В57-14, В57-16, БВ57-32) на виході слугують для зниження та підтримки на заданому рівні тиску стисненого повітря в пневматичних приводах і системах різного технологічного обладнання. |
|
|
Виконання пневмоклапанів П-КРМ-122-12, П-КРМ-122-16, П-КРМ-112-25 і П-КРМ-211-40:
за виглядом настроювання тиску на виході:- с ручной настройкой (ПКР 122-12, ПКР 122-16, ПКР 112-25) - з пневматичним настроюванням (ПКР 211-40) за виглядом монтажу: - для трубного монтажа (П-КРМ 122-25, П-КРМ 211-40) - для панельного монтажа (П-КРМ 122-12, П-КРМ 122-16) |
||
Характеристики пневмоклапанів редукційних П-КРМ
| Параметри | Норми для типорозмірів | |||
| П-КРМ 122-12 | П-КРМ 122-16 | П-КРМ 112-25 | П-КРМ 211-40 | |
| Умовний прохід, мм | 12 | 16 | 25 | 40 |
| Номінальний тиск, МПа (кгс/см2) | 1,0 (10) | |||
| Грани настроювання тиску повітря на виході з клапана, МПа (кгс/см2) | 0,05 - 0,9 (0,5 - 9) | |||
| Номінальна витрата повітря під час тиску на виході 0,4 МПа, м3/хв | 0.8 | 1.6 | 4 | 10 |
| Тип настроювання | ручна | пневматич. | ||
| Приєднувальна різь | К3/8" | К1/2" | К 1" | М48х2 |
| Маса з урахуванням манометра, кг | 1,1 | 2 | 3,5 | |
Таблиця аналогів редукційних клапанів П-КРМ
| Активне позначення | Виконування різних років випуску (навіть не випускаються) | ||||
| Клапан П-КРМ 122-12 (Ду=12 мм, К3/8) | Клапан БВ57-13 | Клапан БВ57-33 | Клапан П-КР12-11 | Клапан П-КР12-22/7 | - |
| Клапан П-КРМ 122-16 (Ду=16 мм, К1/2) | Клапан БВ57-14 | Клапан БВ57-34 | Клапан П-КР16-11 | Клапан П-КР16-22/7 | - |
| Клапан П-КРМ 112-25 (Ду=25 мм, К1) | Клапан БВ57-16 | Клапан БВ57-36 | Клапан П-КР25-11 | Клапан П-КР25-21/7 | - |
| Клапан П-КРМ 211-40 (Ду=40 мм, М48х2) | - | - | - | - | Клапан П-КРП40 |
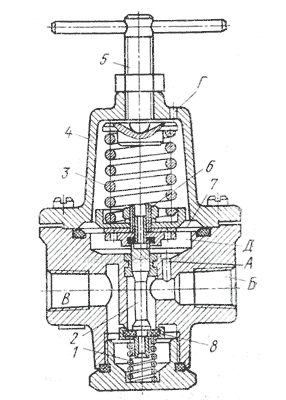
Принципова схема роботи клапана редукційного
|
|
1,3 — пружини; 2 — штовхач; 4 - корпус; 5 - гвинт; 6 — клапан скидання; 7 - мембрана; 8 - клапан; А,Б, В, Г — канали; Д - порожнина. Для зниження тиску стисненого повітря від компресора та підтримки заданого тиску в пневмосистемі застосовують редукційні пневмоклапани, зокрема клапан П-КРМ (Див. малюнок зліва).
По каналу В в корпусі 4 стиснене повітря підводиться до редукційного пневмоклапану, а по каналу Б відводиться від нього. У разі зниження тиску повітря на виході клапана мембрана 7 прогинається вниз під дією, пружини 3 і через штовхач 2 віджимає клапан 8, притиснутий пружиною 1, від сідла, збільшуючи прохід повітря і в такий спосіб його витрату та тиск. У разі підвищення тиску повітря на виході клапана пружина 3 стискається, клапан 8 перекривається й витрата та тиск повітря зменшуються. На необхідний тиск клапан налаштовують стисненням пружини 3гвинтом 5.
У разі тиску повітря на виході вище тиску настроювання пневмоклапана стиснене повітря надходить у підмембрану порожнину Д через канал А і підіймає мембрану з клапаном скидання 6. В результаті стиснене повітря через клапан скидання і канал Г випускається в атмосферу, знижуючи тиск на виході.
|
Клапан редукційний П-КРМ 211-40
|
|
Основні характеристики долапана ПКРМ 211 40 УХЛ4 (аналог клапан П-КРП-40): |
Пневмоклапан редукційний П-КРМ 122-12
|
|
Основні характеристики клапана П-КР (М) ПКРМ 122 12 УХЛ4 (аналог БВ57-13, У57-13): — вага — не більш ніж 1,2 кг. |
Пневмоклапан редукційний П-КРМ 122-16
|
|
Основні характеристики клапана П-КР(М) ПКРМ 122 16 УХЛ4 (аналог В57-14, БВ57-14): — вага — не більш ніж 1,21 кг. |
Під час замовлення можуть вказуватися такі найменування:
пневмоклапан редукційний (регулятор тиску) П-КРМ122-12, П-КРМ122-16, П-КРМ112-25, П-КРМ211-40, П-КР122-12, П-КР122-16, П-КР112-25, П-КР211-40, П-КРМ 122-12, П-КРМ 122-16, П-КРМ 112-25, П-КРМ 211-40.
- Ціна: від 100 ₴
















