
Пневмолапан редукційний В57-13 В57-14 В57-16 БВ57-32
від 100 ₴
Показати оптові ціниМінімальна сума замовлення на сайті — 300 ₴
- В наявності
- Оптом і в роздріб
- Код: в57
- +380 (93) 845-70-32Відділ продажів
Пневмоклапан редукційний В57-13, БВ57-13, В57-14, БВ57-14, В57-16, БВ57-32
|
|
Клапан редукційний (регулятор тиску) В57 13, БВ57 13, В57 14, БВ57 14, В57 16, БВ57 32 УХЛ4 (сучасні аналоги пневмоклапаны П-КРМ 122-12, 122-16, 112-25, 211-40) з пневматичним або ручним настроюванням тиску на виході слугують для зниження та підтримки на заданому рівні тиску стисненого повітря в пневматичних приводах і системах різного технологічного обладнання. |
Пневмоклапан редукційний В57-16
|
Таблиця аналогів редукційних клапанів В57 і П-КРМ
| Активне позначення | Виконування різних років випуску (навіть не випускаються) | ||||
| Клапан П-КРМ 122-12 (Ду=12 мм, К3/8) | Клапан В57-13 | Клапан БВ57-13 | Клапан П-КР 12-11 | Клапан П-КР 12-22/7 | - |
| Клапан П-КРМ 122-16 (Ду=16 мм, К1/2) | Клапан В57-14 | Клапан БВ57-14 | Клапан П-КР 16-11 | Клапан П-КР 16-22/7 | - |
| Клапан П-КРМ 112-25 (Ду=25 мм, К1) | Клапан В57-16 | Клапан БВ57-16 | Клапан П-КР 25-11 | Клапан П-КР 25-21/7 | - |
| Клапан П-КРМ 211-40 (Ду=40 мм, М48х2) | - | - | - | - | Клапан П-КРП 40 |
Характеристики пневмоклапанів редукційних БВ57-13, БВ57-14, В57-16
| Параметри | Норми для типорозмірів | |||
| БВ57-13 | БВ57-14 | В57-16 | БВ57-32 | |
| Умовний прохід, мм | 12 | 16 | 25 | 40 |
| Номінальний тиск, МПа (кгс/см2) | 1,0 (10) | |||
| Грани настроювання тиску повітря на виході з клапана, МПа (кгс/см2) | 0,05 - 0,9 (0,5 - 9) | |||
| Номінальна витрата повітря під час тиску на виході 0,4 МПа, м3/хв | 0.8 | 1.6 | 4 | 10 |
| Тип настроювання | ручна | пневматич. | ||
| Приєднувальна різь | К3/8" | К1/2" | К 1" | М48х2 |
| Маса з урахуванням манометра, кг | 1,1 | 2 | 3,5 | |
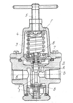
Принципова схема роботи клапана редукційного В57, БВ57
|
|
1,3 — пружини; 2 — штовхач; 4 - корпус; 5 - гвинт; 6 — клапан скидання; 7 - мембрана; 8 - клапан; А,Б, В, Г — канали; Д - порожнина. Для зниження тиску стисненого повітря від компресора та підтримки заданого тиску в пневмосистемі застосовують редукційні пневмоклапани, зокрема клапан (Б) В57 (Див. малюнок зліва). каналом В у корпусі 4 стиснене повітря підводиться до редукційного пневмоклапана, а каналом Б — відводиться від нього. У разі зниження тиску повітря на виході клапана мембрана 7 прогинається вниз під дією, пружини 3 і через штовхач 2 віджимає клапан 8, притиснуту пружиною 1, від сідла, збільшуючи прохід повітря і в такий спосіб його витрату та тиск. У разі підвищення тиску повітря на виході клапана пружина 3 стискається, клапан 8 перекривається й витрата та тиск повітря зменшуються. На необхідний тиск клапан налаштовують стисненням пружини 3 гвинтом 5. У разі тиску повітря на виході вище тиску настроювання пневмоклапана стиснене повітря надходить у підмемовану порожнину Д через канал А і підіймає мембрану з клапаном скидання 6. Унаслідок стисненого повітря через клапан скидання й канал Г випускається в атмосферу, знижуючи тиск на виході. |
Пневмоклапан редукційний В57-14
|
|
Основні параметри пневмоклапана В57 14, БВ57 14 (клапан П-КРМ 122-16) УХЛ4: — вага — не більш ніж 1,2 кг. |
Пневмоклапан редукційний В57-13
|
|
Основні параметри пневмоклапана В57 13, БВ57 13 (клапан П-КРМ 122-12) УХЛ4: — вага — не більш ніж 1,2 кг. |
Клапан редукційний БВ57-32
|
|
Основні параметри пневмоклапана БВ57-32 (клапан П-КРМ 211-40) УХЛ4: |
Під час замовлення можуть вказуватися такі найменування:
пневмоклапан редукційний (регулятор тиску) В57-13, БВ57-13, В57-14, БВ57-14, В57-16, БВ57-32.
- Ціна: від 100 ₴



.png)


.jpg)

