
С12-4М-10. Насос пластинчатый смазочный С12 4М 10
от 100 ₴
Показать оптовые ценыМинимальная сумма заказа на сайте — 300 ₴
- В наличии
- Оптом и в розницу
- Код: с12
- +380 (93) 845-70-32Отдел продаж
Насосы С12-4М-10
|
|
Насосы пластинчатые С12 4М 10 УХЛ4 однократного действия, нерегулируемые применяются для подачи под давлением минерального масла в смазочные системы металлорежущих станков и других машин. |
||||
Основные параметры насосов С12-5М(4М)
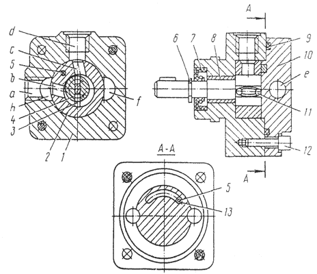
Устройство и принцип действия насосов С12-4М, С12-5М

В чугунном корпусе (6) расположено кольцо(3). Наружная поверхность вала касается внутренней поверхности кольца, разделяя камеры всасывания и нагнетания. В бронзовой втулке (5), запрессованной в корпусе, вращается вал (4), расположенный концентрично относительно наружного диаметра кольца (3). Вал имеет паз, в котором установлены две пластины (2). Между пластинами находится пружина (7), которая прижимает пластины к внутренней поверхности кольца. Кольцо (3 ) в корпусе насоса фиксируется штифтом (1). Насос закрыт крышкой (8). Стык между корпусом и крышкой уплотняется резиновым кольцом (9). Крышка крепится к корпусу насоса винтами (10).
Работа насосов
На первом этапе происходит увеличение объема камеры всасывания в тот момент вращения вала, когда одна из пластин проходит отверстие всасывания и открывает его - происходит всасывание масла. После того, как другая пластина откроет отверстие нагнетания, объем камеры нагнетания уменьшается и масло выкатывается в нагнетательный трубопровод.
Рекомендации по установке и монтажу
- Обеспечивать удобный доступ к нему для монтажа и наблюдения за работой.
- Обеспечить установку с высотой всасывания не более 0, 5 м.
- Не использовать для наружной установки ( не имеет специального уплотнения вала).
- Соединение вала насоса с приводным валом выполнять при помощи упругой (эластичной) муфты или зубчатого колеса.
- Валы насоса и привода сцентрировать (неточность установки вызывает преждевременный износ вала и заедание деталей насоса).
- Максимальное радиальное смещение осей валов 0,05 мм.
- Максимальный угол перекоса 30º.
- Для изменения направления вращения - всасывающий и нагнетательный трубопроводы поменять местами.
Всасывающий и нагнетательный трубопроводы должны быть прямыми или с плавными изгибами. Всасывающий трубопровод должен быть по возможности коротким с минимальным количеством изгибов. Не следует устанавливать на всасывающим трубопроводе какие-либо дополнительные трубопроводы. Присоединение всасывающего трубопровода к насосу должно иметь надежное уплотнение, исключающее возможность подсасывания воздуха.
Габаритные и присоединительные размеры насосов С12

Структура условного обозначения С12-4, С12-5

Насос пластинчатый С12-5М-2
|
|
Основные параметры насоса смазочного С12 5М 2 УХЛ4: |
Насос пластинчатый С12-5М-3,2
|
|
Основные параметры насоса смазочного С12 5М 3 2 УХЛ4: |
Насос пластинчатый С12-5М-4
|
|
Основные параметры насоса смазочного С12 5М 4 УХЛ4: |
Насос пластинчатый С12-5М-6,3
|
|
Основные параметры насоса смазочного С12 5М 6 3 УХЛ4: |
Насос пластинчатый С12-5М-10
|
|
Основные параметры насоса смазочного С12 5М 10 УХЛ4: |
Насос пластинчатый С12-4М-6,3
|
|
Основные параметры насоса смазочного С12 4М 6 3 УХЛ4: |
Насос пластинчатый С12-4М-4
|
|
Основные параметры насоса смазочного С12 4М 4 УХЛ4: |
Насос смазочный С12-4М-10
|
|
Основные параметры насоса смазочного С12 4М 10 УХЛ4: |
Пример условного обозначения насоса пластинчатого для смазки, давление на выходе 0,25 МПа, направление вращения вала реверсируемое, модернизированный, рабочий объём 2,0 см³, климатическое исполнение для районов с умеренным и холодным климатом категория размещения - вентилируемые помещения, без прямого попадания лучей света и пыли ГОСТ 15150-69:
насос пластинчатый для смазки С12-4М-2 УХЛ4.
то же, только нереверсиный, направление вращения - правое:
насос пластинчатый для смазки С12-5М-2 УХЛ4.
- Цена: от 100 ₴


















.jpg)
