
Насос пластинчастий С12-5М-10(2,3,2,4,6,3), С12-4М-10(2,3,2,4,6,3)
від 100 ₴
Показати оптові ціниМінімальна сума замовлення на сайті — 300 ₴
- В наявності
- Оптом і в роздріб
- Код: с12
- +380 (93) 845-70-32Відділ продажів
Насоси С12-5М-10, С12-5М-6,3, С12-5М-4, С12-5М-2, С12-4М-10, С12-4М-6,3, С12-4М-4, С12-4М-2 пластинчасті мастильні
|
|
Насоси пластинчасті С12 5М 10, С12 5М 6,3, С12 5М 4, С12 5М 3,2, С12 5М 2, С12 4М 10, С12 4М 6 3, С12 4М 4, С12 4М 2, С12 4М 3 2 УХЛ4 одноразової дії, нерегульовані, застосовуються для подавання під тиском мінеральної оливи в мастильні системи металорізальних верстатів та інших машин. |
||||
Основні параметри насосів С12-5М(4М)
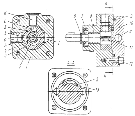
Пристрій і принцип дії насосів С12-4М, С12-5М

У чавунному корпусі (6) розташоване кільце (3). Зовнішня поверхня вала торкається внутрішньої поверхні кільця, розділяючи камери всмоктування й нагнітання. У бронзовій втулці (5), запресованій у корпусі, обертається вал (4), розташований концентрально щодо зовнішнього діаметра кільця (3). Вал має паз, у якому встановлені дві пластини (2). Між пластинами розміщена пружина (7), яка притискає пластини до внутрішньої поверхні кільця. Кільце (3) у корпусі насоса фіксується штифтом (1). Насос закритий кришкою (8). Потиск між корпусом і кришкою ущільнюється гумовим кільцем (9). Кришка кріпиться до корпусу насоса гвинтами (10).
Робота насосів
На першому етапі відбувається збільшення об'єму камери всмоктування в той момент обертання вала, коли одна з пластин проходить отвір всмоктування і відкриває його — відбувається всмоктування оливи. Після того, як інша пластина відкриє отвір нагнітання, об'єм камери нагнітання зменшується й олія викочується в нагнітальний трубопровод.
Рекомендації щодо встановлення та монтажу
- Забезпечувати зручний доступ до нього для монтажу та спостереження за роботою.
- Забезпечити встановлення з висотою всмоктування не більш ніж 0,5 м.
- Не використовувати для зовнішнього встановлення (не має спеціального ущільнення вала).
- З'єднання вала насоса з приводним валом виконувати за допомогою пружної (еластичної) муфти або зубчастого колеса.
- Вали насоса та приводу сцентрувати (неточність встановлення викликає передчасне знос вала та заїдання деталей насоса).
- Максимальне радіальне зміщення осей валів 0,05 мм.
- Максимальний кут перекосу 30o.
- Для зміни напрямку обертання — всмоктувальний і нагнітальний трубопроводини поміняти місцями.
Всмоктувальний і нагнітальний трубопроводини мають бути прямими або з плавними вигинами. Всмоктувальний трубопровід має бути за можливістю коротким із мінімальною кількістю вигинів. Не слідує встановлювати на всмоктувальний трубопровід будь-які додаткові трубопроводи. Приєднання всмоктувального трубопроводу до насоса має мати надійне ущільнення, що запобігає можливості підсмоктування повітря.
Габаритні та приєднувальні розміри насосів С12

Структура умовного позначення С12-4, С12-5

Насос пластинчастий С12-5М-2
|
|
Основні параметри насоса мастильного С12 5М 2 УХЛ4: |
Насос пластинчастий С12-5М-3,2
|
|
Основні параметри насоса мастильного С12 5М 3 2 УХЛ4: |
Насос пластинчастий С12-5М-4
|
|
Основні параметри насоса мастильного С12 5М 4 УХЛ4: |
Насос пластинчастий С12-5М-6,3
|
|
Основні параметри насоса мастильного С12 5М 6 3 УХЛ4: |
Насос пластинчастий С12-5М-10
|
|
Основні параметри насоса мастильного С12 5М 10 УХЛ4: |
Насос пластинчастий С12-4М-6,3
|
|
Основні параметри насоса мастильного С12 4М 6 3 УХЛ4: |
Насос пластинчастий С12-4М-4
|
|
Основні параметри насоса мастильного С12 4М 4 УХЛ4: |
Насос мастильний С12-4М-10
|
|
Основні параметри насоса мастильного С12 4М 10 УХЛ4: |
Приклад умовного позначення насоса пластинчастого для змащення, тиск на виході 0,25 МПа, напрямок обертання вала реверсований, модернізований, робочий об'єм 2,0 см3, кліматичне виконання для районів із помірним і холодним кліматом категорія розміщення — вентильовані приміщення, без прямого потрапляння променів світла та пилу ГОСТ 15150-69:
насос пластинчастий для змащення С12-4М-2 УХЛ4.
те саме, тільки нереверсиний, напрямок обертання — правий:
насос пластинчастий для змащення С12-5М-2 УХЛ4.
- Ціна: від 100 ₴


















.jpg)
