Насоси пластинчасті НПл-5, 8, 12.5, 16, 20, 25) — (5, 8, 12.5, 16, 20, 25) / 16 тиск 16 МПа, габарит 1+1
|

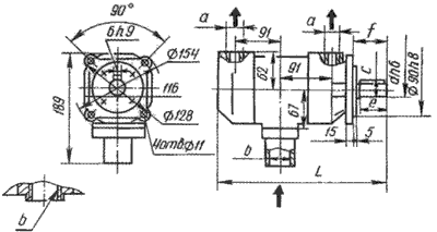
Насос НПл-16-20/16
|
Насоси пластинчасті двопотокові НПл (5, 8, 12.5, 16, 20, 25) — (5, 8, 12.5, 16, 20, 25)/16 тиску 16 МПа, габариту 1+1 застосовуються в гідроприводах металорізальних верстатів та інших машин, де потрібен нерегульований за величиною потік мінеральної оливи. Температура -10 до +60 °C. Тонкість фільтрації оливи 25 мкм. Частота обертання насосів НПЛ тиску 16 МПа габариту 1+1 — 1500 об./хв. Напрямок обертання — правий (за годинниковою стрілкою з боку привода). За потреби насоси пластинчасті двопотокові НПЛ-5, 8, 12.5, 16, 20, 25) — (5, 8, 12.5, 16, 20, 25)/16 тиску 16 МПа габариту 1+1 можуть бути виготовлені з лівим напрямком обертання вала.
Размеры насосов НПл-(5, 8, 12.5, 16, 20, 25)-(5, 8, 12.5, 16, 20, 25)/16

|
a=M22x1,5; b= Ø 40 мм; c=24,5 мм; d=22 мм; e= 50 мм; f=57 мм; L=315 мм. Метрична різь кінців штуцерів і цвях під них за ГОСТ 25065-90. |
У двопотокових пластинчастих насосів НПл технічна характеристика кожного насоса становить дані відповідні моделі однопотокових насосів. Номінальна потужність дорівнює сумі потужностей однопотокових насосів.
Насоси пластинчасті НПл-(5, 8, 12.5, 16, 20, 25)-(5, 8, 12.5, 16, 20, 25)/16 працюють на мінеральних оливах марок ІГП-38, ВНІЇ НП-403 або аналогах із характеристиками:
- температура оливи від -10 до +60 °C;
- кінематична в'язкість олії від 25 до 213 мм2/с
- тонкість фільтрації 25 мкм.
Насоси пластинчасті двопотокові, розраховані на тиск 16 МПа відповідають технічним умовам ТУ 2.053.1899-88. |
Основні технічні характеристики насосів НПЛ
| Позначення (старе позначення) |
Номінальний тиск на виході, МПа |
Номінальне подавання, л/хв |
Номінальний робочий об'єм, см3 |
Номінальна частота обертання, об/хв |
Номінальна потужність, кВт |
Маса не більш ніж кг |
| Насос НПл 5-5/16 (5БГ12-21АМ) |
16 |
5,3-5,3 |
5 і 5 |
1500 |
5,6 |
19,4 |
| Насос НПл 5-8/16 (5БГ12-21М) |
5,3-8,9 |
5 и 8 |
6,9 |
| Насос НПл 5-12,5/16 (5БГ12-22АМ) |
5,3-14,4 |
5 и 12,5 |
8,6 |
| Насос НПл 5-16/16 (5БГ12-22М) |
5,3-19,4 |
5 і 16 |
10,0 |
| Насос НПл 5-20/16 (5БГ12-23АМ) |
5,3-25,5 |
5 і 20 |
11,7 |
| Насос НПл 5-25/16 (5БГ12-23М) |
5,3-33,0 |
5 и 25 |
13,6 |
| Насос НПл 8-8/16 (8БГ12-21М) |
8,9-8,9 |
8 и 8 |
8,2 |
| Насос НПл 8-12,5/16 (8БГ12-22АМ) |
8,9-14,4 |
8 и 12,5 |
9,9 |
| Насос НПл 8-16/16 (8БГ12-22М) |
8,9-19,4 |
8 и 16 |
11,3 |
| Насос НПл 8-20/16 (8БГ12-23АМ) |
8,9-25,5 |
8 и 20 |
13,0 |
| Насос НПл 8-25/16 (8БГ12-23М) |
8,9-33,0 |
8 и 25 |
14,9 |
| Насос НПл 12,5-12,5/16 (12БГ12-22АМ) |
14,4-14,4 |
12,5 и 12,5 |
11,6 |
| Насос НПл 12,5-16/16 (12БГ12-22М) |
14,4-19,4 |
12,5 и 16 |
13,0 |
| Насос НПл 12,5-20/16 (12БГ12-23АМ) |
14,4-25,5 |
12,5 и 20 |
14,7 |
| Насос НПл 12,5-25/16 (12БГ12-23М) |
14,4-33,0 |
12,5 и 25 |
16,6 |
| Насос НПл 16-16/16 (18БГ12-22АМ) |
19,4-19,4 |
16 и 16 |
14,4 |
| Насос НПл 16-20/16 (18БГ12-23АМ) |
19,4-25,5 |
16 і 20 |
16,1 |
| Насос НПл 16-25/16 (18БГ12-23М) |
19,4-33,0 |
16 и 25 |
18,0 |
| Насос НПл 20-20/16 (25БГ12-23АМ) |
25,5-25,5 |
20 і 20 |
17,8 |
| Насос НПл 20-25/16 (25БГ12-23М) |
25,5-33,0 |
20 і 25 |
19,7 |
| Насос НПл 25-25/16 (35БГ12-23М) |
33,0-33,0 |
25 и 25 |
21,6 |
Насос пластинчастий НПл 16-16/16
 |
Основні параметри насоса НПл 16-16/16 УХЛ4:
— номінальний тиск на виході 16 МПа;
— витрата робочої рідини 19/19 л/хв;
— номінальна частота обертання 1500 об/хв;
— номінальна потужність 15,8 кВт;
— вага — не більш ніж 19,7 кг.
|
Насос пластинчастий НПл 16-25/16
 |
Основні параметри насоса НПл 16-25/16 УХЛ4:
— номінальний тиск на виході 16 МПа;
— витрата робочої рідини 19/33 л/хв;
— номінальна частота обертання 1500 об/хв;
— номінальна потужність 15,8 кВт;
— вага — не більш ніж 19,7 кг.
|
Насос пластинчастий НПл 25-25/16
 |
Основні параметри насоса НПл 25-25/16 УХЛ4:
— номінальний тиск на виході 16 МПа;
— витрата робочої рідини 33/33 л/хв;
— номінальна частота обертання 1500 об/хв;
— номінальна потужність 15,8 кВт;
— вага — не більш ніж 19,7 кг.
|
У замовленні необхідно правильно вказувати маркування насоса пластинчастого двопотокового НПл тиску 16 МПа габариту 1+1:
НПл 5-5/16, НПл 5-8/16, НПл 5-12, 5-16, НПл 5-16/16, НПл 5-20/16, НПл 5-25/16, НПл 8-8/16, НПЛ 8-12, 5/16, НПл 8-16/16, НПЛ 8-20/16, НПЛ 8-16, НПЛ 8-2516, Н 12, 51, 16 Н, 16 Н, 16 НПЛ 12, 16 Н, 16 Н, 16 Н, 16 Н, 16 Н, 16 НПЛ 20-20/16, НПл 20-25/16, НПЛ 25-25/16.
|