
Гідроклапан МКРВ-10/3М (МКРВ-10/3МР1 МКРВ-10/3MP2 МКРВ-10/3МР3)
від 1 500 ₴
Показати оптові ціни- В наявності
- Оптом і в роздріб
- Код: мкрв
- +380 (93) 845-70-32Відділ продажів
Гідроклапани редукційні МКРВ-10/3МР, МКРВ-10/3МР1, МКРВ-10/3МР2, МКРВ-10/3МР3
|
Гідроклапани МКРВ-10/3М |
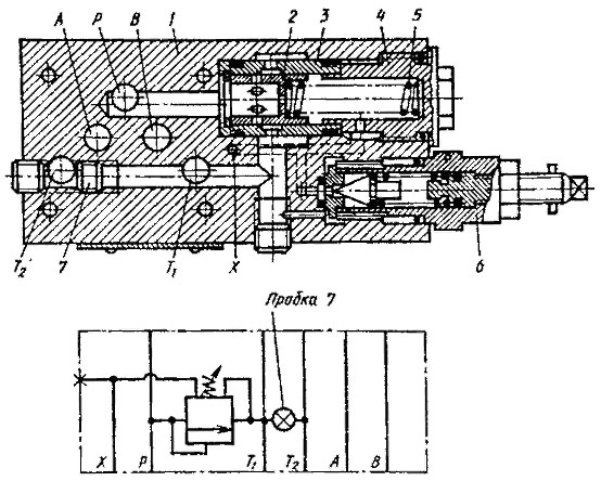
Клапани редукційні модульного монтажу МКРВ 10/3 МР1, МКРВ 10/3 МР2, МКРВ 10/3 МР3, МКРВ 10/3 МР УХЛ4 спрощує виготовлення гідроприводів, дає змогу гранично скоротити кількість трубопроводів, відкриває широкі можливості для модернізації обладнання. Водночас апарати модульного монтажу мають велику кількість ущільнювальних стиків; у ряді випадків їхні технічні характеристики нижчі, ніж у стикових апаратів; обмежена їх номенклатура; потрібне застосування спеціальних стяжок зі сталі з авр > 1000 МПа.
|
Основні параметри гідроклапанів МКРВ-10/3М
| Позначення | Гідроклапан МКРВ-10/3МР1 Гідроклапан МКРВ-10/3МВ1 Гідроклапан МКРВ-10/3МК1 Гідроклапан МКРВ-10/3МП1 |
Гідроклапан МКРВ-10/3МР2 Гідроклапан МКРВ-10/3МВ2 Гідроклапан МКРВ-10/3МК2 Гідроклапан МКРВ-10/3МП2 |
Гідроклапан МКРВ-10/3МР3 Гідроклапан МКРВ-10/3МВ3 Гідроклапан МКРВ-10/3МК3 Гідроклапан МКРВ-10/3МП3 |
| Умовний прохід, мм | 10 | ||
| Тиск на вході ном./хв./ макс., МПа | 32 / 35 / 0,8 | 32 / 35 / 2 | 32 / 35 / 2,5 |
| Тиск настроювання ном. / макс., МПа | 12,5 / 0,3 | 23 / 1 | 34 / 1,5 |
| Витрата робочої рідини ном. / макс. / хв, л/хв | 63 / 100 / 0 | ||
| Максимально допустима витрата через допоміжний клапан, л/хв | 0,7 | 1,2 | 1,5 |
| Маса гідроклапана не більш ніж кг | 3,3 | 3,45 | 3,65 |
Структура умовного позначення гідроклапанів МКРВ-10/3М
| МКРВ | 10 | / | 3 | М | Р | 1 | УХЛ4 | ||||||
|
Кліматичне вироблення й категорія розміщення
|
|||||||||||||
|
Виконання за тиском налаштування:
1 - 0,5...12,5 МПа 2 - 2...25 МПа 3 - 5...35 МПа |
|||||||||||||
|
Виготовлення за виглядом регулювального пристрою:
Р — ручка В - з регулювальним гвинтом із головкою під ключ К — із замковим пристроєм П- із захисним ковпачком і опломбуванням |
|||||||||||||
|
М-модульного виконання
|
|||||||||||||
|
3 — номінальний тиск на вході 32 МПа
|
|||||||||||||
|
Умовний прохід 10 мм
|
|||||||||||||
|
Клапан редукційний модульного монтажу
|
|||||||||||||
Габаритні та приєднувальні розміри МКРВ-10/3МР1, МКРВ-10/3MP2, МКРВ-10/3МР
|
|
Гідроклапан редукційний МКРВ-10/3МР2
|
|
Основні параметри гідроклапана МКРВ 10/3 МР2 УХЛ4: — вага клапана не більш ніж 4 кг. |
Гідроклапан редукційний МКРВ-10/3МР1
|
|
Основні параметри клапана МКРВ 10/3 МР1 УХЛ4: — вага клапана не більш ніж 4 кг. |
Гідроклапан редукційний МКРВ-10/3МР3
|
|
Основні параметри клапана МКРВ 10/3 МР3 УХЛ4: — вага клапана не більш ніж 4 кг. |
Гідроклапан редукційний МКРВ-10/3МР
|
|
Основні параметри клапана МКРВ 10/3 МР УХЛ4: — вага клапана не більш ніж 4 кг. |
Гідроклапан редукційний КРМ-102
|
|
Основні параметри клапана КРМ 102 УХЛ4: — вага клапана не більш ніж 5,5 кг. |
Приклад умовного позначення гідроклапана редукційного модульного монтажу з діаметром умовного проходу 10 мм, з діапазоном регулювання тиску 0,5-12,5 МПа, з номінальною витратою робочої рідини 63 л/хв, з ручкою як регулювання пристрої для районів із помірним і холодним кліматом:
Гідроклапан редукційний МКРВ-10/3МР1 УХЛ4.
Те саме, але тільки з діапазоном регулювання тиску 1-23 МПа:
Гідроклапан редукційний МКРВ-10/3МР2 УХЛ4.
| Основні | |
|---|---|
| Виробник | Гідропривід |
- Ціна: від 1 500 ₴


















