
Насос пластинчастий 100Г12-26АМ
від 100 ₴
Показати оптові ціниМінімальна сума замовлення на сайті — 300 ₴
- В наявності
- Оптом і в роздріб
- Код: г12
- +380 (93) 845-70-32Відділ продажів
Пластинчасті насосы 100Г12-26АМ
|
|
Насоси 100Г12 26АМ УХЛ4 габариту 3+2, пластинчасті двопотокові нерегульовані з постійним напрямком потоку оливи призначені для подавання під тиском чистої мінеральної оливи в гідросистеми верстатів та інших машин. Двухпоточные насосы 50Г12-25, 50Г12-26, 70Г12-25, 70Г12-26, 100Г12-25, 100Г12-26 призначені для подавання під тиском мінеральної оливи двома незалежними потоками. Насоси 50(70,100)Г12-25М(26АМ) працюють на чистих мінеральних оливах в'язкістю від 17 до 400 сСт за температури оливи від +10 до +50 °C за температури довкілля від 0 до +40 °C. Олія, що надходить у насос, має бути відфільтровано від частинок розмірами більш ніж 0,025 мм. Напрямок обертання валу насоса правий. За особливим замовленням насоси можуть виготовлятися з лівим напрямком обертання вала. У замовленні треба вказати типорозмір насоса та напрямок обертання вала. Наприклад, для насоса правого обертання — 100Г12-26АМ, для насоса лівого обертання — 100Г12-26АМ Л. |
Характеристики насосів Г12-2 (габ. 3+2)
|
Найменування насоса |
Литраж, л/хв |
Габарит насоса |
Вага, кг |
|
Насос 50Г12 - 25М |
142,8/53,8 |
3+2 |
68 |
|
Насос 70Г12 - 25М |
142,8/70 |
3+2 |
68 |
|
Насос 100Г12 - 25М |
142,8/110,4 |
3+2 |
68 |
|
Насос 50Г12 - 26АМ |
204,2/53,8 |
3+2 |
68 |
|
Насос 70Г12 - 26АМ |
204,2/70 |
3+2 |
68 |
|
Насос 100Г12 - 26АМ |
204,2/110,4 |
3+2 |
68 |
Пристрій і принцип дії насосів Г12

У корпусі 1 і кришці 2 встановлений робочий комплект, що складається зі статора 3, ротора 4, пластини 5, диска з шийкою 6, диска плоского 7. Вал 8 вільно обертається в підшипнику кочення. У кришці розміщений всмоктувальний отвір Б, у корпусі — нагнітальний В. Двопотоковий насос об'єднує два однопотокових насоси. У корпусних деталях встановлені робочі комплекти двох однопотокових насосів. Двопотоковий насос має загальний всмоктувальний отвір. Нагнітання відбувається двома незалежними потоками. Принцип дії однопотокових і двопотокових насосів однаковий. Під час обертання вала пластини переміщаються в пазах ротора відповідно до профілів внутрішньої поверхні статора. Камера Г (між пластинами, статором і ротором) під час з'єднання з каналами всмоктування збільшує свій об'єм і заповнюється робочою рідиною, що надходить із магістралі всмоктування, а під час з'єднання з каналами нагнітання зменшує свій об'єм, витісняючи робочу рідину в магістраль нагнітання. Насос встановлюється в будь-якому положенні.
З'єднання вала насоса з приводним валом виконувати за допомогою пружної (еластичної) муфти. Допуск смоктання осій валів 0,1 мм у діаметральному вираженні. Напрямок обертання вала має відповідати стрілці, розташованій на табличці. Передавання на вал радіальних і осьових навантажень із боку привода не допускається. Для захисту насоса та гідросистеми від перевантажень необхідно встановити запобіжний клапан, настроювання якого не має перевищувати номінального тиску на виході, а витрата клапана має бути не менш подавання насоса. Бак має відповідати вимогам ГОСТ 16770-86. Об'єм бака має бути не менш ніж двохвилинний подавання насоса. Всмоктувальний і зливний трубопроводи мають бути занурені в бак на глибину приблизно двох діаметрів труби від дна. Трубопроводи мають бути з плавними вигинами, ретельно очищені, мати надійне ущільнення в місці приєднання до насоса, що виключає можливість підсмоктування повітря.
Всмоктувальний трубопровід має бути за можливістю коротким із мінімальною кількістю вигинів. Діаметр отвору всмоктувального трубопроводу, його довжина та додаткові з'єднання мають вибиратися з умов, що швидкість робочої рідини не має перевищувати 1,5 м/с і абсолютний тиск на вході в насос має бути -0,08...0,12 МПа (0,8... 1,2 кгс/см2). На всмоктувальному трубопроводі допускається встановлювати фільтр з індикатором забрудненості за умови, що абсолютний тиск на вході в насос не менш ніж 0,08 МПа.
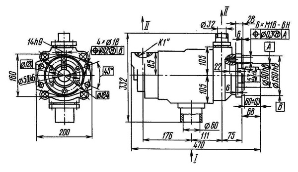
Розміри насосів Г12-2 (габарит 3+2)

Структура умовного позначення насосів Г12
|
||||||||||||||||||||||||||||||||||||||||||||||||||||||||||||||||||||
Насос пластинчастий 50Г12-25М
|
|
Основні параметри насоса 50 Г12-25, 50 Г12-25 М УХЛ4: |
Насос пластинчастий 50Г12-26АМ
|
|
Основні параметри насоса 50 Г12-26, 50 Г12-26 АМ УХЛ4: |
Насос пластинчастий 70Г12-25М
|
|
Основні параметри насоса 70Г12-25, 70 Г12-25 М УХЛ4: |
Насос пластинчастий 70Г12-26АМ
|
|
Основні параметри насоса 70Г12-26, 70 Г12-26 АМ УХЛ4: |
Насос пластинчастий 100Г12-25М
|
|
Основні параметри насоса 100Г12-25, 100 Г12-25 М УХЛ4: |
Насос пластинчастий 100Г12-26АМ
|
|
Основні параметри насоса 100Г12-26, 100 Г12-26 АМ УХЛ4: |
Приклад умовного позначення під час замовлення насоса пластинчастого двопотокового нерегульованого з номінальною поданням 53 і 204 л/хв:
Насос 50Г12-26АМ УХЛ4.
| Основні | |
|---|---|
| Напрямок обертання | Ліве |
| Виробник | Ама |
- Ціна: від 100 ₴



.jpg)
.jpg)
